Speaking Engagements
Georgetown Law 2025 Advanced eDiscovery Institute
November 21, 2025 | 8:30 AM – 9:30 AM ET
Leading the energy evolution.
Learn more
From compliance to the courtroom, we have you covered.
Learn more
Helping you focus on what matters – improving human health.
Learn more
Trusted advisors to leading insurers for 100+ years.
Learn more
Unlocking value in the middle market and beyond.
Learn more
Full-service legal advice from coast to coast.
Learn more
Applying radical applications of common sense
Explore More
Our standard-setting client experience program.
Explore more
Delivering life-changing help to those most in need.
Explore More
Our firm’s greatest asset is our people.
Explore More
Market-leading eDiscovery and data management services.
Explore more
The Pepper Center for Public Services
Explore more
Strategies helps businesses and individuals solve the complexities of dealing with the government at every level. Our team of specialists concentrate exclusively on government affairs, representing clients nationwide who need assistance with public policy, advocacy, and government relations strategies.
This unique program provides innovative and affordable opportunities to startups and early-stage emerging companies with a solid technology or scientific foundation. We help companies that have a quality management team in place and do not have other significant legal representation.
eMerge’s lawyers and technologists work together to deliver strategic end-to-end eDiscovery and data management solutions for litigation, investigations, due diligence, and compliance matters. We help clients discover the information necessary to resolve disputes, respond to investigations, conduct due diligence, and comply with legal requirements.
Stay ahead of the curve and in touch with our latest thinking on the issues that are top of mind across our practices and industry sectors.
Change happens fast in today’s turbulent world. Stay on top of the latest with our industry-specific channels.
Take a closer look at how we partner with clients to help them realize their goals.
Articles + Publications October 27, 2025
In Focus Products Group International, LLC v. Kartri Sales Co., Inc., No. 2023-1446 (Fed. Cir. Sept. 30, 2025), the Federal Circuit reversed patent infringement findings, holding that a patentee’s failure to contest an examiner’s restriction requirement can create an affirmative disclaimer of unelected subject matter, even for a claim that otherwise broadly covers the unelected subject matter. This decision demonstrates how restriction practice can be used to limit a broadly drafted claim and highlights the importance of challenging examiner-imposed claim restrictions.
Background
This case involved three related utility patents: U.S. Patent Nos. 6,494,248 (‘248 patent), 7,296,609 (‘609 patent) and 8,235,088 (‘088 patent), which are owned by Focus Products Group International, LLC (Focus) and its predecessors.[1] The patents cover “hookless” shower curtains, which do not require a hook to attach to a shower rod, but instead attach to the rod though a series of reinforced ring openings that are embedded within the curtain’s top end.
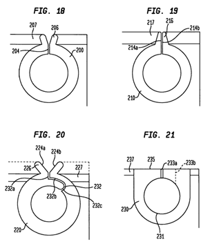
During prosecution of the ‘248 patent, the patent examiner issued a restriction requirement identifying multiple patentably distinct species of shower ring openings and required election of one species for prosecution on the merits. Although the examiner did not describe what was distinct about each species, the examiner characterized the different groups by reference to the application figures, with different claimed species being drawn to different sets of figures. One species of rings was characterized by reference to figures 18-20, which depict rings as having a “finger configuration” and/or an “offset slit.” Another species was characterized by reference to figure 21, depicting rings having a “flat upper edge.”

‘248 patent, Figures 18-21
Patentee responded to the restriction requirement by electing the species of rings based on figures 18-20, having the finger configurations and/or offset slit. The election was made “without traverse,” and no statements objecting to the examiner’s characterization of the claims were included in patentee’s response. Instead, patentee canceled the claims that were pending and added new claims that patentee affirmed were all “directed to the elected inventions only.” However, among the newly added claims was dependent claim 73 that recited a ring having “a flat upper edge.”
The examiner reviewed the newly added claims and issued a non-final office action in which claim 73, among other claims, was identified as being improperly “drawn to a nonelected species” and was withdrawn. Notably, however, the examiner did not find independent claim 61, which claim 73 depended on, to be drawn to unelected subject matter, even though claim 73 was broadly encompassed by claim 61 and only differed from claim 61 by expressly reciting “a flat upper edge along at least a portion of said ring.” In its response to the non-final office action, the patentee did not clarify the scope of claim 61, e.g., by identifying it as a generic claim that reads upon multiple embodiments illustrated in the application figures, including embodiments having a flat upper edge, nor did it otherwise contest the examiner’s characterization and withdrawal of claims.
Finally, in the notice of allowance, the examiner canceled claim 73 as being “drawn to a non-elected species without traverse.” The examiner invited the patentee to contest the cancellation should patentee find it “unacceptable.” Patentee did not object. The ‘248 patent issued with no claims reciting a flat upper edge.
During prosecution of the ’609 patent, patentee also elected the species based on figures 18-20 without objecting to how the examiner characterized the species. Like the ’248 patent, the ’609 patent issued with no claims reciting a flat upper edge.
The ’088 patent relates to shower curtain rings having a “projection edge” that projects from the ring’s outer circumference. Figure 31B illustrates an embodiment of the ‘088 patent:

‘088 patent, Figure 31B
During prosecution, the examiner rejected all the ‘088 claims “on the ground of nonstatutory obvious-type double patenting” in view of the claims of the ‘248 and ‘609 patents. In response, patentee amended the ‘088 claims to distinguish them from the other patents by reciting that the ring includes, among other things, “a flat upper edge.” The examiner then withdrew the double patenting rejection, stating: “as the claims have been amended to incorporate the limitation of the flat upper edge which is drawn to a species which is not encompassed with the species as set forth in the applicant’s prior patents[,] the double patenting rejection is no longer applicable.” Patentee did not object to the examiner’s characterization and the ’088 patent issued with claims requiring a flat upper edge.
Focus sued Kartri Sales Co., Inc. and Marquis Mills, International, Inc. (collectively, Kartri), in district court for patent infringement of the ‘248, ‘609, and ‘088 patents based on Kartri’s “Ezy-Hang” shower curtains that contain rings having a flat upper edge.

Kartri’s Ezy-Hang Product[2]
The district court granted summary judgement in favor of Focus on the patent infringement claims based on the court’s claim constructions.[3],[4]
The Federal Circuit’s Decision
In reversing the district court’s patent infringement findings with respect to the ‘248 and ‘609 patents, the Federal Circuit determined that although the relevant claims were drafted broadly, without placing any restrictions on whether the rings have a flat upper edge or not, that patentee had “clearly disavowed” such feature during prosecution of its patents. Specifically, “by cooperating with the examiner’s repeated demand to exclude rings with a flat upper edge from the ‘248 and ‘609 patents, in keeping with the initial restriction requirement, the patent owner made it clear that it accepted the narrowed claim scope for these patents.” The court further interpreted the prosecution history of the ‘088 patent where patentee adopted the examiner’s characterization to overcome a double patenting rejection, as confirming patentee’s acceptance of the narrowed claim scope of the ‘248 and ‘609 patents, by showing that patentee understood the prior patents did not encompass a ring having a flat upper edge. Collectively, patentee’s actions were determined to be a “clear and unmistakable” disavowal of rings having a flat upper edge.
The Federal Circuit distinguished the outcome in this case from its decision in Plantronics, Inc. v. Aliph, Inc., 724 F.3d 1343 (Fed. Cir. 2013), where a patentee’s election without traverse in response to an examiner’s restriction requirement did not create a disclaimer of unelected subject matter. In Plantronics, the court found the examiner’s restriction to be “ambiguous” because neither the examiner nor patentee made “any particular remarks regarding the differences (e.g., in structure) of what the [examiner] found to be different inventions,” and although the patentee did not traverse the examiner’s restriction requirement, it did challenge the examiner’s comments on a broad claim by identifying the claim as a generic claim that read on “all the embodiments illustrated in the application.” This is in contrast to the findings in Focus, where the Federal Circuit determined there were “multiple instances” of the examiner expressly identifying the flat upper edge as a structural feature that is excluded from the claims and the patentee accepting the examiner’s characterization.
Key Takeaways
[1] The ‘609 and ‘088 patents are continuations of the ‘248 patent and all three patents have the same written description and drawings.
[2] Image sourced from: Focus Prods. Grp. Int’l, LLC v. Kartri Sales Co., Inc., 454 F. Supp. 3d 229, 242 (S.D.N.Y. 2020), aff’d in part, vacated in part, remanded, No. 2023-1446, 2025 WL 2774853 (Fed. Cir. Sept. 30, 2025).
[3] The district court’s infringement finding with respect to the ‘248 patent was based its determination that the accused shower curtain ring comprises an “approximately horizontal component when [the shower curtain] is hanging from the [curtain] rod.”
[4] The district court’s infringement finding with respect to the ‘609 and ‘088 patents was primarily based on its determination that the accused shower curtain ring comprises a “projecting edge.”
Speaking Engagements
Georgetown Law 2025 Advanced eDiscovery Institute
November 21, 2025 | 8:30 AM – 9:30 AM ET
Firm Events
2025 Mid-Atlantic Health Care IT Forum
November 19, 2025 | 3:30 PM – 7:00 PM ET
Troutman Pepper Locke Philadelphia Office – Philadelphia Conference Center
31st Floor, 3000 Two Logan Square, Philadelphia, PA 19103, Eighteenth and Arch Streets
Sponsored Events
2025 ACG Deal Crawl
November 19 – 20, 2025
JW Marriott Charlotte
600 S College Street, Charlotte, NC 28202
Speaking Engagements
Restructuring in the Age of Artificial Intelligence
November 17, 2025 | 1:30 PM – 2:30 PM ET
Offices of CohnReznick
New York, NY
Leading the energy evolution.
Learn more
From compliance to the courtroom, we have you covered.
Learn more
Helping you focus on what matters – improving human health.
Learn more
Trusted advisors to leading insurers for 100+ years.
Learn more
Unlocking value in the middle market and beyond.
Learn more
Full-service legal advice from coast to coast.
Learn more
Applying radical applications of common sense
Explore More
Our standard-setting client experience program.
Explore more
Delivering life-changing help to those most in need.
Explore More
Our firm’s greatest asset is our people.
Explore More
Market-leading eDiscovery and data management services.
Explore more
The Pepper Center for Public Services
Explore more
Strategies helps businesses and individuals solve the complexities of dealing with the government at every level. Our team of specialists concentrate exclusively on government affairs, representing clients nationwide who need assistance with public policy, advocacy, and government relations strategies.
This unique program provides innovative and affordable opportunities to startups and early-stage emerging companies with a solid technology or scientific foundation. We help companies that have a quality management team in place and do not have other significant legal representation.
eMerge’s lawyers and technologists work together to deliver strategic end-to-end eDiscovery and data management solutions for litigation, investigations, due diligence, and compliance matters. We help clients discover the information necessary to resolve disputes, respond to investigations, conduct due diligence, and comply with legal requirements.
Stay ahead of the curve and in touch with our latest thinking on the issues that are top of mind across our practices and industry sectors.
Change happens fast in today’s turbulent world. Stay on top of the latest with our industry-specific channels.
Take a closer look at how we partner with clients to help them realize their goals.